苹果iMac新专利曝光
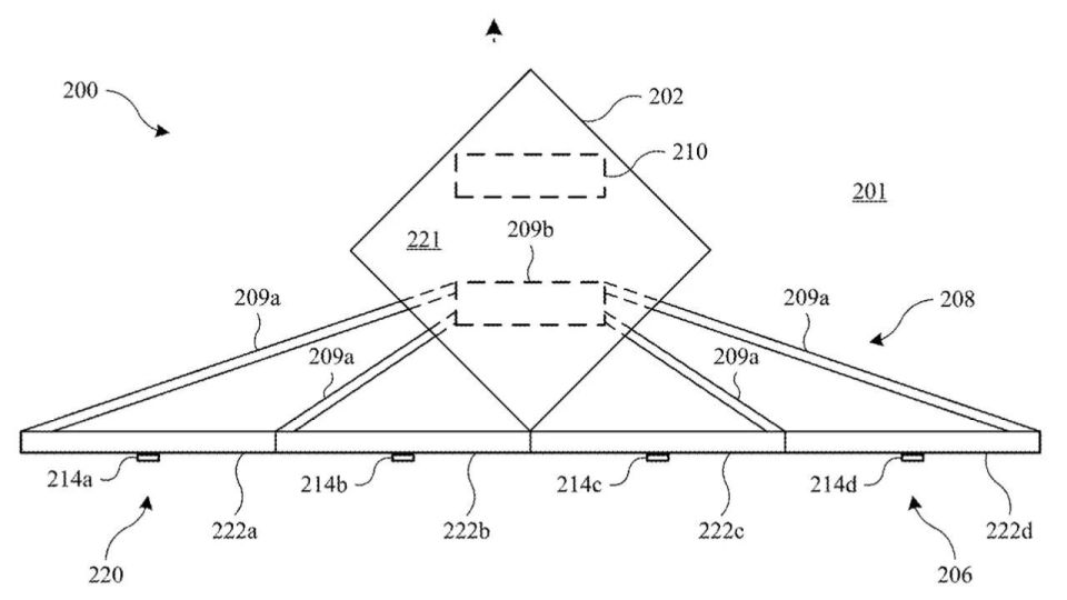
今天,苹果公布了一项屏幕专利,可通过内置传感器追踪用户位置,动态调整屏幕曲率,实现工作与娱乐场景的智能适配。其核心功能为:根据用户距离、视角及使用场景自动调节形态,即办公时呈纯平或微弯状态,保证内容清晰;远距玩游戏、看视频时则变为曲面屏,提升沉浸感。


此外,屏幕的形态还能随不同的应用进行切换,比如从Apple TV+切换到微软Word时,自动从曲面转为直屏。
专利还提及 “展开” 与 “收纳” 两种模式,展开提供宽阔视野,收纳时弯曲缩小体积却不影响显示。
今天,AMD发布 AMD Software: Adrenalin Edition 25.8.1 驱动,为《四海兄弟:旧日国度》《机甲争锋》《蜀山:羽落残阳》《特战英豪》(UE5 版本)及《战地™6》的公测版提供游戏优化支持。新驱动也进一步扩展了对新一代超分辨率锐画技术AMD FidelityFX Super Resolution 4(即FSR 4)的支持。

FSR 4 技术的支持范围持续扩大,现已应用于数十款游戏中,能够在多种硬件平台上带来更流畅的游戏体验与更高帧率。随着本次驱动的发布,FSR 4 支持一步扩展至更多游戏新作,包括:
《电驭叛客2077》
《乌将:羽落之地》
《黑手党:旧国往事》
《暗区突围:无限》
《权力的游戏:王者之路》
《爆裂赛车2》
《匹诺曹的谎言》
荣耀畅玩70 Plus发布
8月4日,荣耀畅玩70 Plus正式发布,该机采用6.77英寸LCD屏,1610×720分辨率,支持120Hz刷新率、DC无频闪调光、护眼模式、类自然光护眼。

该机搭载第三代骁龙6s移动平台,官方宣称5年持久流畅,内置7000mAh大电池,5年耐用,支持45W快充和反向充电。
荣耀畅玩70 Plus还拥有金标五星耐摔认证,抗摔高度达2米,全新太极缓震架构,有效提升手机抗冲击能力25%,中框四角强化设计,降低中框变形风险15%。同时支持IP65防尘防水,全场景生活防水,自研精准触控算法,湿手也能操作手机。
影像方面,该机后置5000万像素单摄,支持AI消除、AI扩图、AI闭眼修复等实用功能。其他方面,荣耀畅玩70 Plus支持多场景NFC,400%大音量立体声双扬声器,搭载Magic OS 9.0系统,支持AI换脸检测、荣耀任意门、灵动胶囊。
华硕推出TUF Gaming VG259QMRL5A显示器
近日,华硕推出了TUF Gaming VG259QMRL5A显示器,采用了24.5英寸的Fast IPS面板,可视角度为178度(水平和垂直),色深为8bit,具有1920 ×1080的分辨率,刷新率达到了310Hz,响应时间最低至0.3ms,典型亮度为400 cd/m²,典型对比度为1000:1,sRGB色域为99%,得到了德国莱茵TUV低蓝光和无闪烁认证,得到了VESA DisplayHDR 400认证,并支持华硕动态影像清晰同步技术(ELMB)、可变刷新率(VRR)、AMD FreeSync Premium技术,也兼容NVIDIA G-SYNC,实现低延迟、无卡顿和无撕裂的游戏画面。

华硕GameVisual技术提供了8中预设显示模式,可增强各种内容的视觉效果。GamePlus技术带有各种游戏内增强功能,有助于玩家提升游戏体验。玩家还可以使用ASUS DisplayWidget Center,通过鼠标轻松调整OSD和显示器的各项设置。
接口方面,TUF Gaming VG259QMRL5A提供了一个DisplayPort 1.4端口、两个HDMI 2.0端口、以及一个3.5mm耳机插孔,另外内置双2W扬声器。其配备了采用符合人体工学设计的支架,,具有0至120mm升降高度、-15°至15°水平旋转、-5°至23°前后俯仰、以及-90°至90°垂直旋转。另外还支持100 x 100mm的VESA壁挂式安装,方便用户更换支架使用,提高了显示器的适用性。
目前新产品已登陆电商平台,价格为1149元,提供三年质保。
iQOO Z10 Turbo+搭载天玑9400+芯片
今天,iQOO宣布,iQOO Z10 Turbo+将于8月7日19点发布,该机搭载联发科天玑9400+旗舰芯,挑战8000mAh手机最强性能。据官方介绍,iQOO Z10 Turbo+搭载的天玑9400+由iQOO、联发科和Arm三方联合调校,安兔兔跑分突破326万分。

这颗芯片基于台积电3nm制程制造,采用第二代全大核架构,8核CPU包含1个主频高达3.73GHz的Arm Cortex-X925超大核以及3个Cortex-X4超大核和4个Cortex-A720大核。天玑9400+集成MediaTek第八代AI处理器NPU 890,支持增强型推理解码技术(SpD+),智能体AI任务的推理速度可提升20%,搭载12核Arm GPU Immortalis-G925,支持天玑OMM追光引擎和天玑倍帧技术。
另外,iQOO Z10 Turbo+支持90W有线闪充,并首发支持全场景直驱供电,边玩边充不易发烫,呵护电池健康。
三星推出玄龙骑士 G7 G75F显示器
近日,三星在ChinaJoy 2025发布了四款玄龙骑士电竞显示器新品,包括一款37英寸的曲面4K电竞显示器玄龙骑士 G7 G75F。

据三星海外官网页面介绍,这款玄龙骑士 G7 G75F采用了曲面VA屏幕,屏幕尺寸为37英寸,弯曲率为1000R,可以提供良好的沉浸式观感。屏幕比例为常规的16:9,具备3840×2160分辨率和165Hz的高刷新率,1ms的响应时间能够带来流畅的游戏画面,并支持FreeSync Premium Pro防撕裂技术。显示器亮度典型值350nits,能提供3000:1的静态对比度,开启HDR后符合VESA Display HDR600标准;屏幕色域覆盖90% DCI-P3色域和99% sRGB色域。
玄龙骑士 G7 G75F自带人体工学支架,可以提供120mm的高度调节、-5°~20°的俯仰调节以及左右20°的旋转调节。显示器背面还有专属的ARGB灯环,利用CoreLighting+软件可以实现灯光与PC同步,打造更具沉浸感的游戏氛围。
接口方面,配备了1个DP 1.4接口、2个HDMI 2.1接口以及2个USB 3.2 Gen 1 Type-A拓展接口。
OPPO Find X9 Ultra关键参数曝光
据数码博主日前爆料,OPPO Find X9 Ultra目前测试1.5K LIPO极窄直屏,搭载高通骁龙8 Elite 2旗舰平台。对比上代,OPPO Find X9 Ultra进一步缩窄屏幕边框,该机采用全新的LIPO屏幕封装工艺,中文名为“低注射压力包覆成型”。通过使用高分子液态材料包覆排线区域,进而取消了缓冲保护区,实现了极窄边框,视觉体验显著提升,而且LIPO封装还具有更优良的保护性能和一致性。

与传统的COG和COF封装技术相比,LIPO技术能够显著压缩屏幕边框宽度,同时对厂商的洁净环境、设备及材料提出了更高的要求,其成本也比传统封装工艺更高。
另外,OPPO Find X9 Ultra搭载的骁龙8 Elite 2采用全新一代Oryon CPU,基于台积电第三代3nm制程N3P制造,GPU独立缓存为16MB,并集成Adreno 840 GPU。
按照发布节奏,OPPO会在今年下半年推出Find X9和Find X9 Pro,明年上半年推出Find X9s和Find X9 Ultra。
MCer请注意,由于微信公众号调整了推荐机制,如果你发现最近很难刷到Microcomputer(微型计算机)公众账号推送的文章,但是又不想错过微机的精彩评测内容,可以动动小手指把Microcomputer设置成星标公众账号哦!




